[AI리포터]
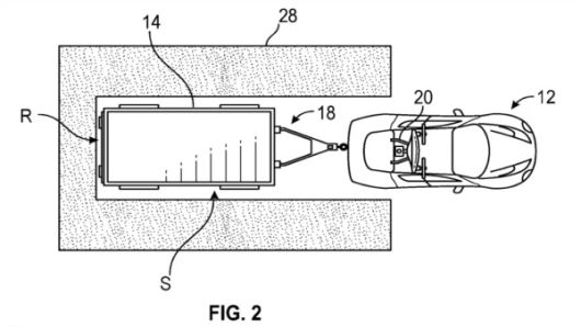
[디지털투데이 AI리포터] 제너럴 모터스(GM)가 차량과 트레일러 연결을 쉽게 만들어 줄 드론 기반 자동 견인 시스템 특허를 출원했다고 18일(이하 현지시간) 전기차 매체 일렉트렉이 전했다.
GM의 감시기관은 지난 5월 27일 미국 특허청에 등록된 이 특허(번호 US 12,312,107 B2)를 발견했으며, 해당 기술은 차량 텔레매틱스와 카메라, 레이더, 라이다 센서를 활용해 차량과 트레일러의 위치 및 도로 조건을 실시간으로 모니터링한다.
드론은 공중에서 차량과 트레일러의 연결 상태를 점검하고, 하중 균형과 브레이크/방향 지시등 작동 여부까지 확인해 운전자가 놓치기 쉬운 안전 점검을 자동으로 수행한다. 주행 중에는 드론이 차량을 따라 이동하며 실시간 영상 피드를 제공, 사각지대를 줄이고 트레일러 흔들림이나 화물 이탈 여부를 감지해 경고를 보낸다. 또한, 차량 위에서 360도 시야를 제공해 운전자가 트레일러 전체를 한눈에 볼 수 있도록 지원한다.
GM은 이 기술을 통해 트레일러 견인 경험을 혁신적으로 개선할 계획이다. 해당 드론 기반 견인 시스템은 자율주행 기술과 드론 활용을 결합한 새로운 접근 방식으로, 차량-트레일러 연결의 안전성과 편의성을 대폭 향상시킬지 전망이 주목된다.
<저작권자 Copyright ⓒ 디지털투데이 (DigitalToday) 무단전재 및 재배포 금지>
GM의 드론을 위에서 본 모습 [사진: USPTO] |
[디지털투데이 AI리포터] 제너럴 모터스(GM)가 차량과 트레일러 연결을 쉽게 만들어 줄 드론 기반 자동 견인 시스템 특허를 출원했다고 18일(이하 현지시간) 전기차 매체 일렉트렉이 전했다.
GM의 감시기관은 지난 5월 27일 미국 특허청에 등록된 이 특허(번호 US 12,312,107 B2)를 발견했으며, 해당 기술은 차량 텔레매틱스와 카메라, 레이더, 라이다 센서를 활용해 차량과 트레일러의 위치 및 도로 조건을 실시간으로 모니터링한다.
드론은 공중에서 차량과 트레일러의 연결 상태를 점검하고, 하중 균형과 브레이크/방향 지시등 작동 여부까지 확인해 운전자가 놓치기 쉬운 안전 점검을 자동으로 수행한다. 주행 중에는 드론이 차량을 따라 이동하며 실시간 영상 피드를 제공, 사각지대를 줄이고 트레일러 흔들림이나 화물 이탈 여부를 감지해 경고를 보낸다. 또한, 차량 위에서 360도 시야를 제공해 운전자가 트레일러 전체를 한눈에 볼 수 있도록 지원한다.
GM은 이 기술을 통해 트레일러 견인 경험을 혁신적으로 개선할 계획이다. 해당 드론 기반 견인 시스템은 자율주행 기술과 드론 활용을 결합한 새로운 접근 방식으로, 차량-트레일러 연결의 안전성과 편의성을 대폭 향상시킬지 전망이 주목된다.
<저작권자 Copyright ⓒ 디지털투데이 (DigitalToday) 무단전재 및 재배포 금지>































































