2025년 구글 I/O 행사에서 '프로젝트 무한' 스마트 글래스가 공개되며 증강 현실(AR) 기술의 무한한 가능성을 제시, 큰 반향을 일으켰습니다. 이는 단순히 새로운 하드웨어의 등장을 넘어, 사용자 경험을 전례 없이 확장하려는 구글의 장기적인 비전을 담고 있습니다. 이러한 혁신적인 발표 뒤에는 수많은 핵심 기술에 대한 구글의 치밀한 준비와 특허 확보 노력이 있었습니다.
기업의 기술 개발 흐름을 읽으려면 특허 출원 동향을 살펴보는 것이 필수적입니다. 특허는 기업이 무엇을 연구하고 개발하며, 미래에 어떤 기술을 시장에 내놓을지 가늠할 수 있는 가장 확실한 척도이기 때문입니다. 역으로, 과거에 출원된 특허를 분석함으로써 우리는 미래에 어떤 기술이 구현될지 예측하고, 해당 기업의 기술 전략을 심도 깊게 이해할 수 있습니다. 지금부터 구글이 스마트 글래스, 특히 '프로젝트 무한'의 실현을 위해 어떤 준비를 해왔는지 주요 특허들을 통해 자세히 살펴보겠습니다.
아래에는 구글의 '프로젝트 무한'에서 핵심적으로 다룬 기술들과 관련된 특허들을 소개하고 있습니다. 각 설명에는 관련 특허 번호가 명시되어 있으니, 관심 있는 분들은 해당 특허 문서를 참고해 주시기 바랍니다.
참고로, 구글 스마트 글래스에는 매우 다양한 기술이 적용되었으나, 지면 관계상 일부 기술만 다루게 되었음을 알려드립니다.
차세대 디스플레이 및 본체 기술의 진화
'프로젝트 무한' 스마트 글래스의 핵심은 바로 사용자가 인지하지 못할 정도로 자연스럽고 선명한 디스플레이 구현입니다. 구글은 이를 위해 다양한 디스플레이 및 본체 관련 기술을 꾸준히 개발하며 하드웨어의 근본적인 완성도를 높여왔습니다.
광학계 및 디스플레이 제어 관련하여 구글은 헤드 마운트 디스플레이(HMD)를 위한 광학 장치 특허를 통해 광 이미지를 압축하고 포커싱하는 기술을 개발했습니다 .
양안 HMD 시스템의 평면도 (Hybrid polarizing beam splitter, US 13/413228) |
이는 투사된 이미지를 사용자의 눈에 정확하고 선명하게 전달하는 데 필수적인 기술입니다. 또한, 발광층을 가진 액정 디스플레이(LCD)를 제어하여 주변 광에 따라 빛의 강도와 투과/반사 모드를 동적으로 조절하는 기술도 포함됩니다. 이는 다양한 조명 환경에서도 최적의 시각적 경험을 제공하기 위한 기반 기술이 됩니다.
나아가, 카메라에 전기변색 유리층을 적용하여 Day 모드 전환 시 주변 광을 조절하고 투과 특성을 제어하는 기술도 개발되었습니다 . 이는 스마트 글래스의 카메라가 어떤 광원 조건에서도 최상의 이미지를 캡처할 수 있도록 돕습니다. 입사광을 확산시키고 CMOS 이미지 센서로 광을 포커싱하는 얇은 세라믹 이미징 스크린 기술도 눈에 띕니다.
프레임 및 본체 설계 관련하여 스마트 글래스는 사용자의 얼굴에 직접 착용되는 만큼, 디자인과 내구성, 그리고 착용감이 중요합니다. 구글이 확보한 다양한 안경 프레임의 장식용 디자인 특허들 은 기능성뿐만 아니라 심미적 측면까지 고려했음을 보여줍니다.
구글이 확보한 글래스 관련 디자인 특허 예시 |
전력 관련하여 스마트 안경 템플 내의 두 배터리 셀의 충전/방전 전류 및 전압을 제어하는 양방향 배터리 제어기 시스템 은 효율적인 전력 관리를 가능하게 합니다. 이 시스템은 배터리 사용량을 최적화하고 전력 낭비를 최소화하여 스마트 안경의 사용 시간을 늘리는 데 기여합니다. 양방향 충전/방전 기능은 전력 흐름을 필요에 따라 양쪽 방향으로 조절하여, 에너지 효율을 극대화하는 핵심 기술입니다.
양방향, 다중 배터리 충전 및 방전을 포함하는 한 쌍의 스마트 안경을 개략적으로 보여주는 도면(BIDIRECTIONAL BATTERY CHARGING AND DISCHARGING, US 18/262669) |
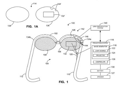
렌즈 식별 및 교정 관련하여 헤드 장착 장치의 렌즈를 식별하기 위한 방법 및 장치 특허는 렌즈의 광학적 특성을 나타내는 코드를 통해 렌즈를 식별하고, 이를 바탕으로 이미지 생성기를 제어하는 기술을 포함합니다. 이는 렌즈 교체 시에도 정확한 AR 경험을 제공하기 위한 중요한 기술입니다.
웨어러블 장치 예시(Methods and apparatus to identify lenses of head-wearable apparatus, US 15/855596) |
혁신적인 사용자 인터페이스 및 상호작용 방식
스마트 글래스는 기존 모바일 기기와는 차별화된 직관적이고 몰입감 있는 사용자 인터페이스를 요구합니다. 구글은 이를 위해 다양한 입력 및 출력 방식을 연구하며 사람과 기기 간의 더욱 자연스러운 연결을 모색했습니다.
제스처 및 터치 입력 관련하여 효율적인 텍스트 입력을 위한 다중 터치 포인트 활용 과 제스처 기반 메시징 에 대한 특허는 손쉬운 상호작용의 중요성을 보여줍니다. 특히, 착용형 헤드업 디스플레이에 통합된 손가락 추적 입력 센서 는 자연스럽게 명령을 내릴 수 있는 입력 방식을 제시합니다.
다중 터치 포인트 시스템의 도면(Multiple touchpoints for efficient text input, US 13/113725) |
환경 인지 및 증강 현실 관련하여 카메라 시스템으로 장면에서 유리 표면을 식별하고 움직임 감지에서 제외하는 기술 은 AR 콘텐츠가 실제 환경과 자연스럽게 어우러지도록 돕습니다. 구글 글래스를 사용하여 야간 시력을 강화하는 적색 오버레이 투사 기술 은 특수 상황에서의 시각 보조를 위한 것입니다.
사용자 경험 확장 및 생태계 통합
'프로젝트 무한'의 궁극적인 목표는 스마트 글래스를 통해 사용자 경험을 확장하고 다양한 기기 및 서비스와 원활하게 통합하는 것입니다.
다중 기기 상호작용 관련하여 구글은 다중 컴퓨팅 장치에서 소프트웨어 프로그램을 실행하고 관련 데이터를 표시하며, 물리적 위치에 따라 업데이트하는 기술의 특허를 확보했습니다. 이는 스마트 글래스가 다른 스마트 기기들과 연동하여 끊김 없는 경험을 제공할 수 있도록 합니다. 특히, 웨어러블 컴퓨팅 장치 데이터를 사용하여 다중 장치 환경에서 장치 중재를 수행하는 방법 은 사용자 시선 방향이나 다른 입력에 따라 특정 기기의 우선순위를 정하고 콘텐츠를 할당하는 복잡한 상호작용을 가능하게 합니다.
개인화 및 컨텍스트 인지 관련하여 사용자와 디스플레이 간의 거리를 측정하고 노안 증상을 판단하여 디스플레이 해상도 및 배율을 동적으로 조절하는 기술 은 사용자 개개인의 시각적 편의를 극대화합니다.
디스플레이 중앙에 위치한 사용자가 디스플레이의 다른 초점 영역 설명 도면 (Systems and methods for configuring the display resolution of an electronic device based on distance and user presbyopia, US 13/666499) |
구글의 '프로젝트 무한' 스마트 글래스는 단순히 새로운 웨어러블 기기를 넘어, 사용자의 일상생활에 끊임없이 정보를 통합하고 상호작용 방식을 혁신하려는 구글의 야심 찬 계획을 반영합니다. 위에서 살펴본 수많은 특허들은 디스플레이 기술, 본체 설계, 다양한 입력 방식, 지능형 환경 인지, 그리고 다중 기기 생태계 통합에 이르기까지, 이 프로젝트를 위한 구글의 광범위하고 깊이 있는 준비를 명확히 보여줍니다.
이러한 특허들은 구글이 단순한 기술 개발을 넘어, 사용자의 시각적, 청각적, 조작적 경험을 확장하려는 장기적인 비전을 가지고 있었음을 입증합니다. 스마트 글래스는 우리의 삶을 연결하고, 정보를 제공하며, 새로운 방식으로 세상과 상호작용하게 하는 미래의 핵심 기기가 될 것입니다. 다시 한번 강조하지만, 기업의 기술 개발 로드맵을 이해하고 미래를 예측하는 가장 확실한 방법은 바로 그들이 출원하는 특허를 분석하는 것입니다. 특허 데이터는 단순한 법률 문서가 아닌, 기업의 기술적 야망과 미래 전략이 담긴 청사진인 셈입니다.
- -원문 : 구글의 '프로젝트 무한' 스마트 글래스: 특허로 본 개발과정
- -글 : 특허법인 BLT 박기현 변리사
글 : 외부기고(contribution@platum.com)
ⓒ '스타트업 전문 미디어 & 중화권 전문 네트워크' 플래텀, 조건부 전재 및 재배포 허용




























































