[AI리포터]
[디지털투데이 AI리포터] 블록체인 회사 험블(HUMBL)이 미국 특허상표청(USPTO)에서 블록체인 기술에 대한 특허를 공식적으로 발급했다고 밝혔다.
17일(현지시간) 블록체인 매체 코인텔레그래프에 따르면 이 특허는 '블록체인을 이용한 통화 전송 시스템 및 방법'이라는 제목으로 발급됐다.
험블의 새로운 특허 기술은 블록체인 기반 통화 거래 시스템으로 보인다. 표면적으로 제공된 정보에 따르면 이 기술은 블록체인 기술을 기반으로 디지털과 법정화폐를 연결할 것이라는 설명이다. 이 결제 시스템은 전 세계의 거의 모든 지갑이 중개자 없이 거래할 수 있게 해준다.
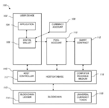
험블의 결제 시스템을 보여주는 차트 [사진: 미국 특허상표청(USPTO)] |
[디지털투데이 AI리포터] 블록체인 회사 험블(HUMBL)이 미국 특허상표청(USPTO)에서 블록체인 기술에 대한 특허를 공식적으로 발급했다고 밝혔다.
17일(현지시간) 블록체인 매체 코인텔레그래프에 따르면 이 특허는 '블록체인을 이용한 통화 전송 시스템 및 방법'이라는 제목으로 발급됐다.
험블의 새로운 특허 기술은 블록체인 기반 통화 거래 시스템으로 보인다. 표면적으로 제공된 정보에 따르면 이 기술은 블록체인 기술을 기반으로 디지털과 법정화폐를 연결할 것이라는 설명이다. 이 결제 시스템은 전 세계의 거의 모든 지갑이 중개자 없이 거래할 수 있게 해준다.
험블은 특허 승인에 4년 이상 걸렸다고 밝혔는데, USPTO 웹사이트에 따르면 평균 보류 기간(특허 신청과 최종 발급 또는 거부 사이의 개월 수)은 26.2개월이다.
험블은 "이 특허를 발급하는 데 오랜 세월이 걸렸다"며 "초기 단계의 회사가 그 정도 길이의 절차를 견디기는 어렵고, 법적 비용과 대응에 소요되는 시간도 많이 든다"고 지적했다.
<저작권자 Copyright ⓒ 디지털투데이 (DigitalToday) 무단전재 및 재배포 금지>































































